Proč se zaregistrovat?
Registrací do našeho e-shopu získáte přístup k exkluzivním nabídkám a plnohodnotné administraci
- Průběžný stav objednávky
- Historie Vašich nákupů
- Reálný počet položek skladem
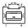
Konektory
V níže uvedeném přehledu najdete kategorizované rozdělení různých druhů konektorů. Pro lepší orientaci jsme ke každému konektoru kromě označení a názvu přidali obrázek a schéma.
| Tato stránka obsahuje pouze informace o konektorech, nikoliv konektory, které je možno zakoupit !!! |
Konektory pro napájení
| Označení | Popis | Obrázek | Schéma |
|---|---|---|---|
| DC jack2,5x0,7M |
Napájecí konektor 2,5mm samec (více informací) |
|
|
| DC jack2,35x0,7M |
Napájecí konektor 2,35mm samec (více informací) |
|
|
| DC jack2x0,6M |
Napájecí konektor 2mm samec (více informací) |
|
|
| DC jack2x0,5M |
Napájecí konektor 2mm samec (více informací) |
|
|
| DC jack3,4x1,35M |
Napájecí konektor 3,4mm samec (více informací) |
|
|
| DC jack2,5x0,7F |
Napájecí konektor 2,5mm samice (více informací) |
||
| DC jack2,5x0,6F |
Napájecí konektor 2,5mm samice (více informací) |
|
|
| DC jack3x1M |
Napájecí konektor 3mm samec (více informací) |
|
|
| DC jack3,5x1,1F |
Napájecí konektor 3,5mm samice (více informací) |
|
|
| DC jack3,5x1,1M |
Napájecí konektor 3,5mm samec (více informací) |
|
|
| DC jack3,5x1,35M |
Napájecí konektor 3,5mm samec (více informací) |
|
|
| DC jack3,8x1,3F |
Napájecí zásuvka 3,8mm samice (více informací) |
|
|
| DC jack3,8x1,3M |
Napájecí konektor 3,8mm samec (více informací) |
|
|
| DC jack4,5x3pin(M) |
Napájecí konektor 4,5mm samec (více informací) |
|
|
| DC jack4,75x1,75M |
Napájecí konektor 4,75mm samec (více informací) |
|
|
| DC jack4x1,35M |
Napájecí konektor 4mm samec (více informací) |
|
|
| DC jack4x1,7M |
Napájecí konektor 4,75mm samec (více informací) |
|
|
| DC jack4x1,7F |
Napájecí konektor 4,75mm samice (více informací) |
|
|
| DC jack5,5x1,5M |
Napájecí konektor 5,5mm samec (více informací) |
|
|
| DC jack5,5x1,75M |
Napájecí konektor 5,5mm samec (více informací) |
|
|
| DC jack5,5x1,9M |
Napájecí konektor 5,5mm samec (více informací) |
|
|
| DC jack5,5x2,1F |
Napájecí konektor 5,5mm samice (více informací) |
|
|
| DC jack5,5x2,1M |
Napájecí konektor 5,5mm samec (více informací) |
|
|
| DC jack5,5x2,5F |
Napájecí konektor 5,5mm samice (více informací) |
|
|
| DC jack5,5x2,5M |
Napájecí konektor 5,5mm samec (více informací) |
|
|
| DC jack5x2,1M |
Napájecí konektor 5mm samec (více informací) |
|
|
| DC jack6,3x3M |
Napájecí konektor 6,3mm samec (více informací) |
|
|
| DC jack6,5x3M |
Napájecí konektor 6,3mm samec (více informací) |
|
|
| DC jack6,5x4,4pin(M) |
Napájecí konektor 6,5mm samec (více informací) |
|
|
| DC5,25M |
Napájecí konektor 4 piny, samec (více informací) |
|
|
| DC5,25F |
Napájecí konektor 4 piny, samice (více informací) |
|
|
| DC jack7,4x5,1pin(M) |
Napájecí konektor 7,4mm samec (více informací) |
|
|
| DC jack7,5-2,5M |
Napájecí konektor stereo jack 2,5mm samec (více informací) |
|
|
| DC3,5F |
Napájecí konektor 4 piny, samice (více informací) |
|
|
| DC3,5M |
Napájecí konektor 4 piny, samec (více informací) |
|
|
| DC jack7,9x5,6pin(M) |
Napájecí konektor 7,4mm samec (více informací) |
|
|
| DC jack9-3,5M |
Napájecí konektor stereo jack 3,5mm samec (více informací) |
|
|
| DC-SATA(F) |
Napájecí konektor Serial ATA, samice (více informací) |
|
|
| DC-SATA(M) |
Napájecí konektor Serial ATA, samec (více informací) |
|
|
| DC jack5,5x3,5pin(M) |
Napájecí konektor 5,5mm samec (více informací) |
|
|
| DC jack5,5x3,5pin(F) |
Napájecí konektor 5,5mm samice (více informací) |
|
|
| DC 11x4,6M |
Obdélníkový napájecí konektor samec (více informací) |
|
|
| DC4pin-EPS12V(F) |
Napájecí konektor pro P4 4 piny samice (více informací) |
|
|
| DC4pin-EPS12V(M) |
Napájecí konektor pro P4 4 piny samec (více informací) |
|
|
| DC2pin(F) |
Napájecí 2 pinový konektor, samice (více informací) |
|
|
| DC3pin(F) |
Konektor DMI, samice (více informací) |
|
|
| DC3pin(M) |
Konektor DMI, samec (více informací) |
|
|
| DC4pin(F) |
Konektor DMI + PWM, samice (více informací) |
|
|
| DC4pin(M) |
Konektor DMI + PWM, samec (více informací) |
|
|
| ARGB 3pin(M) |
Konektor ARGB, samec (více informací) |
|
|
| ARGB 3pin(F) |
Konektor ARGB, samice (více informací) |
|
|
| ATX20F |
Napájecí konektor ATX, 20pinů (více informací) |
|
|
| auto(M) |
Zástrčka do automobilového zapalovače (více informací) |
|
|
| auto(F) |
Zásuvka automobilového zapalovače (více informací) |
|
|
| ATX20M |
Napájecí konektor ATX, 20pinů (více informací) |
|
|
| EMpower(M) |
Zástrčka do letadla (více informací) |
|
|
| EMpower(F) |
Zásuvka pro připojení do letadla (více informací) |
|
|
| 4pinIBM(M) |
Napájecí konektor IBM samec (více informací) |
|
|
| 3pinDELL(M) |
Napájecí konektor DELL samec (více informací) |
|
|
| EATX24F |
Napájecí konektor EATX, 24pinů (více informací) |
|
|
| DC DIN 4pin(M) |
Napájecí konektor samec (více informací) |
|
|
| CPM5/7M |
násuvná svorkovnice 7pólová - samec (více informací) |
|
|
| CPM5/3M |
násuvná svorkovnice 3pólová - samec (více informací) |
|
|
| CPM5/2M |
násuvná svorkovnice 2pólová - samec (více informací) |
|
|
| CPM5/4M |
násuvná svorkovnice 4pólová - samec (více informací) |
|
|
| CPM5/6M |
násuvná svorkovnice 6pólová - samec (více informací) |
|
|
| MRT9/5M |
násuvná svorkovnice 5pólová - samec (více informací) |
|
|
| MRT9/2M |
násuvná svorkovnice 2pólová - samec (více informací) |
|
|
| MRT9/3M |
násuvná svorkovnice 3pólová - samec (více informací) |
|
|
| DC DIN 4pin(F) |
Napájecí konektor samice (více informací) |
|
|
| MRT9/4M |
násuvná svorkovnice 4pólová - samec (více informací) |
|
|
| MRT8/4F |
násuvná svorkovnice 4pólová - samice (více informací) |
|
|
| MRT8/3F |
násuvná svorkovnice 3pólová - samice (více informací) |
|
|
| KF128/2 |
šroubovací svorkovnice 2pólová (více informací) |
|
|
| KF128/3 |
šroubovací svorkovnice 3pólová (více informací) |
|
|
| MRT8/2F |
násuvná svorkovnice 2pólová - samice (více informací) |
|
|
| MRT8/5F |
násuvná svorkovnice 5pólová - samice (více informací) |
|
|
| AKZ950/4F |
násuvná svorkovnice 4pólová - samice (více informací) |
|
|
| AKZ950/2F |
násuvná svorkovnice 2pólová - samice (více informací) |
|
|
| AKZ950/3F |
násuvná svorkovnice 3pólová - samice (více informací) |
|
|
| AKZ950/7F |
násuvná svorkovnice 7pólová - samice (více informací) |
|
|
| EATX24M |
Napájecí konektor EATX, 24pinů (více informací) |
|
|
| 2pinDC(M) |
Přístrojová zásuvka dvoupólová DC (více informací) |
|
|
| 2pinDC(F) |
Přístrojová zástrčka dvoupólová DC (více informací) |
|
|
| faston F1M |
Plochý konektor F1- samec (více informací) |
|
|
| faston F2M |
Plochý konektor F2- samec (více informací) |
|
|
| DC6pin-PCIE(F) |
Napájecí konektor pro PCI-Express karty samice (více informací) |
|
|
| DC6pin-PCIE(M) |
Napájecí konektor pro PCI-Express karty samec (více informací) |
|
|
| DC6pin-SATA(F) |
Napájecí konektor Serial ATA 6 pinů, samice (více informací) |
|
|
| DC6pin-SATA(M) |
Napájecí konektor Serial ATA 6 pinů, samec (více informací) |
|
|
| DC8pin-EPS12V(F) |
Napájecí konektor pro P4 8pinů samice (více informací) |
|
|
| DC8pin-EPS12V(M) |
Napájecí konektor pro P4 8pinů samec (více informací) |
|
|
| DC8pin-PCIE(F) |
Napájecí konektor pro PCI-Express karty samice (více informací) |
|
|
| DC9pin-SATA(F) |
Napájecí konektor Serial ATA 9 pinů, samice (více informací) |
|
|
| zásuvka typ C |
Dvoupólová zásuvka 230V (více informací) |
|
|
| vidlice typ J |
Třípólová vidlice 230V (více informací) |
|
|
| vidlice typ L |
Třípólová vidlice 230V (více informací) |
|
|
| vidlice typ D |
Třípólová vidlice 230V (více informací) |
|
|
| vidlice typ K |
Třípólová vidlice 230V (více informací) |
|
|
| vidlice typ M |
Třípólová vidlice 230V (více informací) |
|
|
| vidlice typ C |
Dvoupólová vidlice 230V (více informací) |
|
|
| vidlice typ N |
Třípólová vidlice 230V (více informací) |
|
|
| vidlice typ A |
Dvoupólová vidlice 120V (více informací) |
|
|
| vidlice 32A/3p |
Třípólová kulatá vidlice 230V/32A (více informací) |
|
|
| vidlice 16A/3p |
Třípólová kulatá vidlice 230V/16A (více informací) |
|
|
| vidlice 32A/5p |
Pětipólová kulatá vidlice 400V/32A (více informací) |
|
|
| vidlice typ B |
Třípólová vidlice 120V (více informací) |
|
|
| vidlice typ I (AUS-2pól) |
Dvoupólová vidlice 230V (více informací) |
|
|
| vidlice typ I (CN) |
Třípólová vidlice 230V (více informací) |
|
|
| vidlice typ I (AUS) |
Třípólová vidlice 230V (více informací) |
|
|
| vidlice 16A/5p |
Pětipólová kulatá vidlice 400V/16A (více informací) |
|
|
| vidlice typ H |
Třípólová vidlice 230V (více informací) |
|
|
| vidlice typ J (T23) |
Třípólová vidlice 230V (více informací) |
|
|
| zásuvka 16A/3p |
Třípólová kulatá zásuvka 230V/16A (více informací) |
|
|
| IEC320/C7 |
Přístrojová zástrčka dvoupólová 230V (více informací) |
|
|
| IEC320/C8 |
Přístrojová zásuvka dvoupólová 230V (více informací) |
|
|
| IEC320/C1 |
Přístrojová zástrčka dvoupólová 230V (více informací) |
|
|
| IEC320/C2 |
Přístrojová zásuvka dvoupólová 230V (více informací) |
|
|
| vidlice CEE 7/17 |
Vidlice CEE 7/17, 230V - 2 kolíky (více informací) |
|
|
| zásuvka typ E |
Zásuvka 230V - 2 zdířky + 1 kolík, kulatý (více informací) |
|
|
| vidlice typ E |
Vidlice typ E, 230V - 1 zdířka + 2 kolíky (více informací) |
|
|
| vidlice typ E/F |
Konektor 230V 2-piny+zdířka, kulatý, samec (více informací) |
|
|
| zásuvka typ F |
Zásuvka 230V - 2 zdířky + boční kontakty, kulatý (více informací) |
|
|
| vidlice typ G |
Konektor 230V 3-pinový, anglický, samec (více informací) |
|
|
| zásuvka typ G |
Anglická zásuvka (více informací) |
|
|
| zásuvka typ J |
Švýcarská zásuvka (více informací) |
|
|
| zásuvka typ B |
US zásuvka (více informací) |
|
|
| zásuvka typ A |
US zásuvka (více informací) |
|
|
| IEC320/C15A |
Konektor 230V 3-pinový, samice (více informací) |
|
|
| IEC320/C15 |
Konektor 230V 3-pinový, lichoběžníkový, samice (více informací) |
|
|
| IEC320/C13 |
Konektor 230V 3-pinový, lichoběžníkový, samice (více informací) |
|
|
| IEC320/C14 |
Konektor 230V 3-pinový, lichoběžníkový, samec (více informací) |
|
|
| GST18F |
Konektor 230V 3-pinový, Wieland GST18®,samice (více informací) |
|
|
| GST18M |
Konektor 230V 3-pinový, Wieland GST18®,samec (více informací) |
|
|
| IEC320/C16A |
Konektor 230V 3-pinový, samec (více informací) |
|
|
| IEC320/C21 |
Konektor 230V 3-pinový, obdélníkový, samice (více informací) |
|
|
| IEC320/C20 |
Konektor 230V 3-pinový, obdélníkový, samice (více informací) |
|
|
| IEC320/C19 |
Konektor 230V 3-pinový, obdélníkový, samice (více informací) |
|
|
| IEC320/C5 |
Konektor 230V 3-pinový, "trojlístek", samice (více informací) |
|
|
| IEC320/C6 |
Konektor 230V 3-pinový, "trojlístek", samec (více informací) |
|
|
| AT P8F |
Napájecí konektor AT P8, 6pinů (více informací) |
|
|
| AT P9F |
Napájecí konektor AT P9, 6pinů (více informací) |
|
|
| E14(M) |
Závitová žárovková patice E14 (více informací) |
|
|
| E27(M) |
Závitová žárovková patice E14 (více informací) |
|
|
| GU10M |
Bajonetová žárovková patice (více informací) |
|
|
| GU10F |
Bajonetová žárovková patice (více informací) |
|
|
| GU5,3M |
Žárovková patice (více informací) |
|
|
| G13M |
Zářivková patice G13 (více informací) |
|
|
| EV Typ2/3f(M) |
Třífázová vidlice Typ2 (více informací) |
|
|
| EV Typ2/3f(F) |
Třífázová zásuvka Typ2 (více informací) |
|
|
| EV Typ2/1f(F) |
Jednofázová zásuvka Typ2 (více informací) |
|
|
| EV Typ2/1f(M) |
Jednofázová vidlice Typ2 (více informací) |
|
Konektory pro standardní sériový a paralelní přenos dat
| Označení | Popis | Obrázek | Schéma |
|---|---|---|---|
| PSM |
Mini DIN 6 pinů, samice (více informací) |
|
|
| PSF |
Mini DIN 6 pinů (více informací) |
|
|
| PCF |
DIN 6 pinů, samice (více informací) |
|
|
| PCM |
DIN 6 pinů, samec (více informací) |
|
|
| FD9 |
Canon 9 pinů, samice (více informací) |
|
|
| MD9 |
Canon 9 pinů, samec (více informací) |
|
|
| FD15 |
Canon 15 pinů, samice (více informací) |
|
|
| MD15 |
Canon 15 pinů, samec (více informací) |
|
|
| FD25 |
Canon 25 pinů, samice (více informací) |
|
|
| FD44 |
Canon 44 pinů, samice (více informací) |
|
|
| MD44 |
Canon 44 pinů, samec (více informací) |
|
|
| FD50 |
Canon 50 pinů, samice (více informací) |
|
|
| MD37 |
Samec Canon 37 pinů (více informací) |
|
|
| FD37 |
Samice Canon 37 pinů (více informací) |
|
|
| MD25 |
Samec Canon 25 pinů (více informací) |
|
|
| FC36 |
Samice Centronics 36 pinů (více informací) |
|
|
| MC36 |
Samec Centronics 36 pinů (více informací) |
|
|
| FC36HP |
Mini centronics 36 pinů, samice (více informací) |
|
|
| MC36HP |
Mini centronics 36 pinů, samec (více informací) |
|
|
Konektory SCSI
| Označení | Popis | Obrázek | Schéma |
|---|---|---|---|
| MD50 |
Samec Canon 50 pinů (více informací) |
|
|
| FD50HP |
Mini canon 50 pinů, samice (více informací) |
|
|
| MD50HP |
Mini canon 50 pinů samec (více informací) |
|
|
| FC68HP |
Mini centronics 68 pinů, samice (více informací) |
|
|
| FC50 |
Centronics 50 pinů, samice (více informací) |
|
|
| MC50 |
Centronics 50 pinů, samec (více informací) |
|
|
| FC50HP |
Mini centronics 50 pinů, samice (více informací) |
|
|
| MC50HP |
Mini centronics 50 pinů, samec (více informací) |
|
|
| FD68HP |
Mini canon 68 pinů samice (více informací) |
|
|
| MD68HP |
Mini canon 68 pinů samec (více informací) |
|
|
| MC68HP |
Mini centronics 68 pinů, samec (více informací) |
|
|
| FC68VHD |
Ultra mini centronics 68 pinů, samice (více informací) |
|
|
| MC68VHD |
Ultra mini centronics 68 pinů, samec (více informací) |
|
|
Konektory pro komponenty PC (HDD, FDD…)
| Označení | Popis | Obrázek | Schéma |
|---|---|---|---|
| SFF8484F |
Konektor SAS interní pro 4 zařízení, samice (více informací) |
|
|
| SFF8088M |
Konektor mini SAS, samec (více informací) |
|
|
| SFF8087M |
Konektor mini SAS 4i, samec (více informací) |
|
|
| SFF8482F |
Konektor SAS interní pro 2 zařízení, samice (více informací) |
|
|
| SFF8644M |
Konektor mini SAS, samec (více informací) |
|
|
| M.2M(F) |
M.2 konektor, samice (více informací) |
|
|
| SATA22pin(F) |
Serial ATA datový + napájecí konektor, samice (více informací) |
|
|
| SATA22pin(M) |
Serial ATA datový + napájecí konektor, samec (více informací) |
|
|
| SATA13pin(F) |
Serial ATA datový + napájecí konektor, samice (více informací) |
|
|
| SATA16pin(F) |
Serial ATA datový + napájecí konektor, samice (více informací) |
|
|
| mPCIe(F) |
mini PCIe konektor, samice (více informací) |
|
|
| M.2B(F) |
M.2 konektor, samice (více informací) |
|
|
| SATA(M) |
Serial ATA datový konektor, samec (více informací) |
|
|
| SATA(F) |
Serial ATA datový konektor, samice (více informací) |
|
|
| eSATA(M) |
External Serial ATA datový konektor, samec (více informací) |
|
|
| eSATA(F) |
External Serial ATA datový konektor, samice (více informací) |
|
|
| SFP(M) |
Konektor SFP modulu (mini GBIC) (více informací) |
|
|
| eSATAp12(M) |
External Serial ATA konektor s napájením, samice (více informací) |
|
|
| eSATAp12(F) |
External Serial ATA konektor s napájením, samec (více informací) |
|
|
| eSATAp(F) |
External Serial ATA konektor s napájením, samice (více informací) |
|
|
| SFP(F) |
Konektor pro SFP modul (mini GBIC) (více informací) |
|
|
| IDC44F |
Konektor pro plochý kabel 44žil (IDE), samice (více informací) |
|
|
| USB2 ICC(F) |
Dvouřadý 10pinový konektor samice (více informací) |
|
|
| USB3 ICC(M) |
Dvouřadý 20pinový konektor samec (více informací) |
|
|
| USB2 ICC(M) |
Dvouřadý 10pinový konektor samec (více informací) |
|
|
| USB EA(M) |
Interní 20pinový konektor samec (více informací) |
|
|
| konektor 2x4pin(F) |
Dvouřadý 8pinový konektor samice (více informací) |
|
|
| USB3 ICC(F) |
Dvouřadý 20pinový konektor samice (více informací) |
|
|
| konektor 1x5pin(F) |
Jednořadý 5pinový konektor samice (více informací) |
|
|
| IDC10F |
Dvouřadý konektor 10 kontaktů, samice (více informací) |
|
|
| IDC40F |
Konektor pro plochý kabel 40žil (IDE), samice (více informací) |
|
|
| IDC40M |
Konektor pro plochý kabel 40žil (IDE), samec (více informací) |
|
|
| IDC50F |
Konektor pro plochý kabel 50žil (SCSI), samice (více informací) |
|
|
| IDC50M |
Konektor pro plochý kabel 50žil (SCSI), samec (více informací) |
|
|
Konektory USB a Firewire (IEEE1394)
| Označení | Popis | Obrázek | Schéma |
|---|---|---|---|
| miniUSB 5pinB(F) |
USB mini 5p. B samice (více informací) |
|
|
| miniUSB Hirose(F) |
USB mini Hirose A samice (více informací) |
|
|
| miniUSB 5pinA(F) |
USB mini 5p. A samice (více informací) |
|
|
| miniUSB 5pinA(M) |
USB mini 5p. A samec (více informací) |
|
|
| miniUSB 5pinAB(F) |
USB mini 5p. AB samice (více informací) |
|
|
| miniUSB Mitsumi(F) |
USB mini Mitsumi A samice (více informací) |
|
|
| miniUSB Fuji(M) |
USB mini Fuji samec (více informací) |
|
|
| USB30 A(F) |
USB 3.0 A konektor, samice (více informací) |
|
|
| miniUSB Nikon1(M) |
USB mini Nikon1, 8 pinů, samec (více informací) |
|
|
| miniUSB Nikon2(M) |
USB mini Nikon2, 8 pinů, samec (více informací) |
|
|
| miniUSB Fuji14M |
USB mini Fuji, 14 pinů, samec (více informací) |
|
|
| miniUSB Canon(M) |
USB mini Canon, 12 pinů, samec (více informací) |
|
|
| miniUSB Panasonic(M) |
USB mini Panasonic, 8 pinů, samec (více informací) |
|
|
| miniUSB Minolta(M) |
miniUSB Minolta(M), samec (více informací) |
|
|
| miniUSB Olympus(M) |
USB mini Olympus, 12 pinů, samec (více informací) |
|
|
| USB A(F) |
USB A konektor, samice (více informací) |
|
|
| USB A(M) |
USB A konektor, samec (více informací) |
|
|
| USB B(F) |
USB B konektor, samice (více informací) |
|
|
| USB B(M) |
USB B konektor, samec (více informací) |
|
|
| miniUSB Mitsumi(M) |
USB mini Mitsumi A samec (více informací) |
|
|
| miniUSB Hirose(M) |
USB mini Hirose A samec (více informací) |
|
|
| miniUSB 5pinB(M) |
USB mini 5p. B samec (více informací) |
|
|
| USB C(F) |
USB C konektor, samice (více informací) |
|
|
| Easy microUSB B(M) |
Easy microUSB B konektor, samec (více informací) |
|
|
| USB C(M) |
USB C konektor, samec (více informací) |
|
|
| miniUSB Panasonic(F) |
USB mini Panasonic, 8 pinů, samice (více informací) |
|
|
| Easy USB A(M) |
Easy USB A konektor, samec (více informací) |
|
|
| Samsung Galaxy Tab(M) |
Konektor pro Galaxy Tab, samec (více informací) |
|
|
| IPOD(M) |
Konektor pro IPOD, samec (více informací) |
|
|
| microUSB30 A(M) |
USB 3.0 A mikro konektor, samec (více informací) |
|
|
| microUSB30 B(M) |
USB 3.0 B mikro konektor, samec (více informací) |
|
|
| miniUSB Kodak(M) |
USB mini Kodak U8, 8 pinů, samec (více informací) |
|
|
| microUSB30 B(F) |
USB 3.0 B mikro konektor, samice (více informací) |
|
|
| USB30 B(F) |
USB 3.0 A konektor, samice (více informací) |
|
|
| miniUSB LG(M) |
miniUSB LG(M), samec (více informací) |
|
|
| miniUSB Nokia(M) |
miniUSB Nokia(M), samec (více informací) |
|
|
| USB30 B(M) |
USB 3.0 B konektor, samec (více informací) |
|
|
| USB30 A(M) |
USB 3.0 A konektor, samec (více informací) |
|
|
| microUSB B(M) |
Mikro USB B samec (více informací) |
|
|
| SGS3M |
Samsung Galaxy S3 USB konektor (více informací) |
|
|
| microUSB B(F) |
Mikro USB B samice (více informací) |
|
|
| microUSB AB(F) |
Mikro USB AB samice (více informací) |
|
|
| Apple Lightning(M) |
Apple Lightning systémový konektor (více informací) |
|
|
| microUSB A(M) |
Mikro USB A samec (více informací) |
|
|
| 1394b-bilingual(F) |
Konektor 1394b -2002 bilingual (9 pinů), samice (více informací) |
|
|
| 1394b-bilingual(M) |
Konektor 1394b -2002 bilingual (9 pinů), samec (více informací) |
|
|
| 1394(M) |
Konektor 1394 -1995 (6 pinů), samec (více informací) |
|
|
| 1394(F) |
Konektor 1394 -1995 (6 pinů), samice (více informací) |
|
|
| 1394a(M) |
Konektor 1394a -2000 (4 piny), samec (více informací) |
|
|
| 1394a(F) |
Konektor 1394a -2000 (4 piny), samice (více informací) |
|
|
| 1394b-beta(M) |
Konektor 1394b -2002 beta (9 pinů), samec (více informací) |
|
|
| 1394b-beta(F) |
Konektor 1394b -2002 beta (9 pinů), samice (více informací) |
|
|
| NDS(M) |
Konektor pro Nintendo DS lite (více informací) |
|
Konektory pro počítačové sítě
| Označení | Popis | Obrázek | Schéma |
|---|---|---|---|
| TAEF(M) |
Německý telefonní konektor TAE-F (více informací) |
|
|
| TAEN(M) |
Německý telefonní konektor TAE-N (více informací) |
|
|
| RJ12F |
Konektor 6/6 pinů, samice (více informací) |
|
|
| RJ12M |
Konektor 6/6 pinů, samec (více informací) |
||
| RJ11F |
Konektor 6/4 piny, samice (více informací) |
|
|
| RJ11M |
Konektor 6/4 piny, samec (více informací) |
|
|
| RJ9F |
Konektor 4/4 piny, samice (více informací) |
|
|
| RJ9M |
Konektor 4/4 piny, samec (více informací) |
|
|
| RJ10F |
Konektor 6/2 piny, samice (více informací) |
||
| RJ10M |
Konektor 6/2 piny, samec (více informací) |
|
|
| RJ50M |
Konektor 10P/10C, samec (více informací) |
|
|
| RJ45F |
Konektor 8pin pro počítačovou síť, samice (více informací) |
|
|
| RJ45M |
Konektor 8pin pro počítačovou síť, samec (více informací) |
|
|
| BNC(F) |
BNC samice (více informací) |
|
|
| ST(M) |
Konektor pro optické kabely (více informací) |
|
|
| ST(F) |
Konektor pro optickou síť (více informací) |
|
|
| SC(M) |
Konektor pro optické kabely (více informací) |
|
|
| SC(F) |
Konektor pro optickou síť (více informací) |
|
|
| LC(M) |
Konektor pro optické kabely (více informací) |
|
|
| LC(F) |
Konektor pro optické kabely (více informací) |
|
|
| MTRJ(F) |
Konektor pro optické kabely (více informací) |
|
|
| E2000(M) |
Konektor pro optické kabely (více informací) |
|
|
| MPO(M) |
Konektor pro optické kabely (více informací) |
|
|
| MPO(F) |
Konektor pro optické kabely (více informací) |
|
|
| E2000(F) |
Konektor pro optické kabely (více informací) |
|
|
| FC(M) |
Konektor pro optické kabely (více informací) |
|
|
| FC(F) |
Konektor pro optickou síť (více informací) |
|
|
| RG58M |
BNC konektor, samec (více informací) |
|
|
| RG58F |
BNC konektor, samice (více informací) |
|
|
| BNC(M) |
BNC samec (více informací) |
|
|
| OptoLock |
Konektor pro optické POF kabely (více informací) |
|
|
| LSA |
Nařezávací konektor LSA PLUS (více informací) |
|
Konektory pro audio a video
| Označení | Popis | Obrázek | Schéma |
|---|---|---|---|
| stereo jack2,5F |
3pólový audio konektor, samice (více informací) |
|
|
| mono jack6,35M |
2pólový audio konektor, samec (více informací) |
|
|
| stereo jack6,35F |
3pólový audio konektor, samice (více informací) |
|
|
| stereo jack6,35M |
3pólový audio konektor, samec (více informací) |
|
|
| 4pol.jack3,5M |
4pólový audio/video konektor, samec (více informací) |
|
|
| 4pol.jack3,5F |
4pólový audio/video konektor, samice (více informací) |
|
|
| 4pol.jack2,5M |
4pólový audio/video konektor, samec (více informací) |
|
|
| 4pol.jack2,5F |
4pólový audio/video konektor, samice (více informací) |
|
|
| stereo jack3,5M |
3pólový audio konektor, samec (více informací) |
|
|
| stereo jack3,5F |
3pólový audio konektor, samice (více informací) |
|
|
| stereo jack2,5M |
3pólový audio konektor, samec (více informací) |
|
|
| mono jack3,5M |
2pólový audio konektor, samec (více informací) |
|
|
| mono jack2,5M |
2pólový audio konektor, samec (více informací) |
|
|
| cinch(M) |
Souosý konektor cinch (RCA), samec (více informací) |
|
|
| cinch(F) |
Souosý konektor cinch (RCA), samice (více informací) |
|
|
| S-video(M) |
Konektor S-video, samec (více informací) |
|
|
| S-video(F) |
Konektor S-video, samice (více informací) |
|
|
| Scart(M) |
Scart konektor, samec (více informací) |
|
|
| Scart(F) |
Scart konektor, samice (více informací) |
|
|
| DIN 5pin(F) |
Konektor pro audio, klávesnice, samice (více informací) |
|
|
| DIN 5pin(M) |
Konektor pro audio, klávesnice, samice (více informací) |
|
|
| miniDIN 7pin(F) |
Konektor pro audio a video, samice (více informací) |
|
|
| miniDIN 8pin(F) |
Konektor pro audio a video, samice (více informací) |
|
|
| XLR3(M) |
Konektor pro audio (více informací) |
|
|
| XLR3(F) |
Konektor pro audio (více informací) |
|
|
| TOSround(M) |
Konektor pro optické kabely (více informací) |
|
|
| TOS(M) |
Konektor pro optické kabely (více informací) |
|
|
| TOS(F) |
Konektor pro optické kabely (více informací) |
|
|
| TOS3,5M |
Konektor pro optické kabely (více informací) |
|
|
| audioCD plochý4pin(F) |
Audio konektor 4piny, samice (více informací) |
|
|
| audioCD4pin(F) |
Audio konektor 4piny, samice (více informací) |
|
|
| PSP(M) |
konektor pro PSP, samec (více informací) |
|
|
| PS2(M) |
konektor pro PS, samec (více informací) |
|
|
| pin(M) |
Konektor typu "pin" samec (více informací) |
|
|
| Y-konektor |
Konektor typu "Y" samec (více informací) |
|
|
| banan(M) |
Banánek (více informací) |
|
|
| banan(F) |
Banánek (více informací) |
|
|
| krokodýl |
Konektor krokodýl (více informací) |
|
Konektory anténní
| Označení | Popis | Obrázek | Schéma |
|---|---|---|---|
| TNC(F) |
Konektor pro anténní systémy. Samice (více informací) |
|
|
| TNC(M) |
Konektor pro anténní systémy. Samec (více informací) |
|
|
| N(F) |
Konektor pro anténní systémy. Samice (více informací) |
|
|
| N(M) |
Konektor pro anténní systémy. Samec (více informací) |
|
|
| PAL(F) |
Anténní souosý konektor (PAL), samice (více informací) |
|
|
| PAL(M) |
Anténní souosý konektor (PAL), samec (více informací) |
|
|
| MMCX(F) |
Anténní souosý konektor (PAL), samice (více informací) |
|
|
| MCX(M) |
Anténní souosý konektor (PAL), samec (více informací) |
|
|
| mini RF(F) |
Anténní konektor, samice (více informací) |
|
|
| mini RF(M) |
Anténní konektor, samec (více informací) |
|
|
| RP-SMA(F) |
Konektor pro anténní systémy. RP-Samice (více informací) |
|
|
| RP-SMA(M) |
Konektor pro anténní systémy. RP-Samec (více informací) |
|
|
| SMA(M) |
Konektor pro anténní systémy. Samec (více informací) |
|
|
| SMA(F) |
Konektor pro anténní systémy. Samice (více informací) |
|
|
| CRC9M |
Konektor pro anténní systémy. Samec (více informací) |
|
|
| F(M) |
Anténní konektor, samec (více informací) |
|
|
| F(F) |
Anténní konektor, samice (více informací) |
|
|
| quick F(M) |
Anténní konektor, samec (více informací) |
|
Konektory pro PC video
| Označení | Popis | Obrázek | Schéma |
|---|---|---|---|
| MD15HD |
Canon 15 pinů, vysoká hustota, samec (více informací) |
|
|
| FD15HD |
Canon 15 pinů, vysoká hustota, samice (více informací) |
|
|
| MD15HD(bez pinu 9) |
Canon 15 pinů, vysoká hustota, samec (více informací) |
|
|
| FD18SPHD |
Speciální konektor pro připojení KVM kabelů (více informací) |
|
|
| MD18SPHD |
Speciální konektor na KVM kabelech (více informací) |
|
|
| DP(M) |
Konektor Displayport 20pinů, samec (více informací) |
|
|
| DP(F) |
Konektor Displayport 20pinů, samice (více informací) |
|
|
| miniDVI(M) |
Konektor mini DVI, 32 pinů, samec (více informací) |
|
|
| M1(M) |
Konektor M1, samec (více informací) |
|
|
| DVI-D(F)dual | (více informací) |
|
|
| DVI-D(M)dual |
Konektor DVI-D dual link (24 + 1), samec (více informací) |
|
|
| DVI-I(F)dual | (více informací) |
|
|
| DVI-I(M)dual | (více informací) |
|
|
| DVI-I(F)single | (více informací) |
|
|
| DVI-I(M)single | (více informací) |
|
|
| DVI-D(F)single | (více informací) |
|
|
| DVI-D(M)single | (více informací) |
|
|
| DVI-A(M) | (více informací) |
|
|
| miniDP(F) |
Konektor miniDisplayport 20pinů, samice (více informací) |
|
|
| miniDP(M) |
Konektor miniDisplayport 20pinů, samec (více informací) |
|
|
| miniHDMI(M) |
Konektor mini HDMI single link, samec (více informací) |
|
|
| microHDMI(M) |
Konektor micro HDMI, typ D, samec (více informací) |
|
|
| microHDMI(F) |
Konektor micro HDMI, typ D, samice (více informací) |
|
|
| HDMI A(M) |
Konektor HDMI single link, samec (více informací) |
|
|
| HDMI A(F) |
Konektor HDMI single link, samice (více informací) |
|
|
| HDMI B(M) |
Konektor HDMI dual link, samec (více informací) |
|
|
| miniHDMI(F) |
Konektor mini HDMI single link, samice (více informací) |
|
|
| FD13W3P | (více informací) |
|
|
| MD13W3P | (více informací) |
|
|
Průmyslové konektory
| Označení | Popis | Obrázek | Schéma |
|---|---|---|---|
| M8/3F |
Konektor M8 samice (více informací) |
|
|
| M8/3M |
Konektor M8 samec (více informací) |
|
|
| M12A/4M |
Konektor M12 samec (více informací) |
|
|
| M12A/4F |
Konektor M12 samice (více informací) |
|
|
| M12A/5F |
Konektor M12 samice (více informací) |
|
|
| M12A/5M |
Konektor M12 samec (více informací) |
|
|
| M12X/8M |
Konektor M12 samec (více informací) |
|
|
| M12X/8F |
Konektor M12 samice (více informací) |
|
|
| M12D/4M |
Konektor M12 samec (více informací) |
|
























































































































































































































































































































































































































































































































